Utilización del tablet con la base
Colocación del tablet en una base
-
Deslice el pie de la base a su posición superior. Esto le permite enchufar el adaptador de CA.

-
Enchufe el adaptador de CA al conector del cable de alimentación situado en la parte inferior de la base.

-
Enchufe el adaptador de CA a una toma de CA.
-
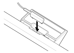
Alinee el conector de carga del tablet con el conector que hay en el interior de la ranura de la base.

-
Coloque el tablet en la base.
-
Asegúrese de que el indicador de carga se ilumina.
-
Cuando sujete o desenchufe el adaptador de CA, no toque la zona de los terminales.
-
Si tira del cable del adaptador de CA con fuerza al desenchufarlo de la base, podría romper el adaptador de CA o la base. Asegúrese de sujetar el pie de la base al desenchufar.
-
Cuando use el pie de la base en su posición inferior, pase el cable del adaptador de CA por el espacio habilitado al efecto en el pie de la base para evitar que la base se caiga.
-
Si coloca el tablet en la base teniendo la correa colocada, asegúrese de que la correa no queda atrapada entre el tablet y la base.
-
Cuando coloca el tablet en la base mientras se está usando, o cuando enciende el tablet con él en la base, el sistema le pedirá que seleccione qué aplicación desea que se inicie la próxima vez que utilice la base. Si selecciona [Ninguna] y [Utilizar de forma predeterminada para esta acción], podrá continuar utilizando la aplicación actual y la pantalla de selección de aplicaciones no aparecerá en el futuro.
-
Para cambiar la aplicación que desea que se inicie al colocar el tablet en la base, toque [
Aplicaciones y widgets] - [
Ajustes] - [Base].
Extracción del tablet de una base
-
Levante el tablet recto hacia arriba.
