Verwendung des Tablets in Verbindung mit der Docking
Stellen des Tablets in die Docking
-
Schieben Sie den Standfuß der Docking in die obere Position. Auf diese Weise können Sie das Netzteil einstecken.

-
Stecken Sie das Netzteil in den Netzkabelanschluss unten an der Docking.

-
Stecken Sie das Netzteil in die Netzsteckdose.
-
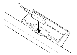
Richten Sie den Ladeanschluss des Tablets an dem Anschluss im Einschub der Docking aus.

-
Stellen Sie das Tablet in die Docking.
-
Vergewissern Sie sich, dass die Ladeanzeige leuchtet.
-
Beim Halten oder Ausstecken des Netzteils darf sein Anschlussbereich nicht berührt werden.
-
Wenn Sie beim Ausstecken des Netzteils aus der Docking mit Gewalt an seinem Kabel ziehen, kann das Netzteil oder die Docking beschädigt werden. Halten Sie auf jeden Fall beim Trennen den Standfuß der Docking fest.
-
Wird der Standfuß der Docking in der unteren Position verwendet, führen Sie das Netzteilkabel durch die Aussparung am Standfuß, damit die Docking nicht umfällt.
-
Wenn Sie das Tablet mit angebrachtem Trageriemen in die Docking stellen, achten Sie darauf, dass sich der Trageriemen nicht zwischen dem Tablet und der Docking verfängt.
-
Wenn Sie das Tablet während des Gebrauchs in die Docking stellen oder wenn Sie das Tablet in der Docking einschalten, werden Sie zur Auswahl der Anwendung aufgefordert, die bei der nächsten Verwendung der Docking gestartet werden soll. Wenn Sie [Keine] und [Standardmäßig für diese Aktion verwenden] aktivieren, können Sie die Verwendung der aktivierten App fortsetzen, ohne dass der Appauswahl-Bildschirm in Zukunft angezeigt wird.
-
Wenn Sie eine andere Anwendung auswählen möchten, die bei Verwendung des Tablets mit der Docking gestartet werden soll, berühren Sie [
Apps & Widgets] - [
Einstellungen] - [Anschlussstation].
Herausnehmen des Tablets aus der Docking
-
Führen Sie das Tablet gerade nach oben heraus.
