Utilizar o tablet com a base
Colocar o tablet numa base
-
Faça deslizar o pé da base para a posição superior. Isto permite-lhe ligar o adaptador de corrente.

-
Ligue o adaptador de corrente ao conector do cabo de alimentação na parte inferior da base.

-
Ligue o adaptador de corrente à tomada de eletricidade.
-
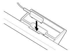
Alinhe o conector de carga do seu tablet com o conector no interior da ranhura superior da base.

-
Coloque o tablet na base.
-
Certifique-se de que o indicador de carga está aceso.
-
Ao segurar ou desligar o adaptador de corrente, não toque na respetiva área dos terminais.
-
Puxar o cabo do adaptador de corrente à força quando o desligar da base poderá partir o adaptador de corrente ou a base. Certifique-se de que segura o pé da base quando desliga.
-
Quando estiver a utilizar o pé da base na posição inferior, faça passar o cabo do adaptador de corrente através do recorte do pé da base para evitar que a base caia.
-
Ao colocar o tablet na base com a fita presa, certifique-se de que a mesma não fica presa entre o tablet e a base.
-
Quando coloca o tablet em utilização na base ou quando liga o tablet com este colocado na base, ser-lhe-á solicitado que escolha qual a aplicação que pretende iniciar da próxima vez que utilizar a base. Se assinalar [Nenhum] e [Utilizar por predefinição para esta acção.], pode continuar a utilizar a aplicação que estava a utilizar, sem que o ecrã de seleção da aplicação seja apresentado de futuro.
-
Para alterar a aplicação a ser iniciada quando coloca o tablet numa base, toque em [
Aplicações e Widgets] - [
Definições] - [Base].
Remover o tablet da base
-
Retire o tablet para cima, a direito.
