Operazione
Inserimento/rimozione di una SIM card
Per inserire una SIM card
-
Assicurarsi che tutti i cavi siano scollegati dal tablet, quindi spegnere il tablet.
-
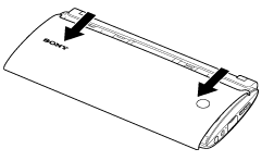
Rimuovere lo sportellino superiore facendola scivolare.

-
Allineare una SIM card con il simbolo al di sopra dell’alloggiamento, quindi far scivolare con attenzione la SIM card all’interno dell’alloggiamento finché si arresta in sede con uno scatto.

-
Riapplicare lo sportellino superiore facendola scivolare.

Nota
-
Assicurarsi di non inserire la SIM card invertendone la direzione.
Per rimuovere una SIM card
-
Seguire le procedure fino al punto 2 di “Per inserire una SIM card”, quindi premere la SIM card verso l’interno fino in fondo e rilasciarla.
Argomento correlato
