Использование планшетного ПК с кредлом
Установка планшетного ПК на кредле
-
Переместите опору кредла в верхнее положение. Это позволяет подсоединить адаптер переменного тока.

-
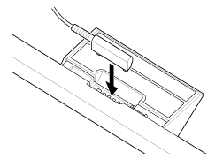
Подсоедините адаптер переменного тока к разъему шнура питания в нижней части кредла.

-
Вставьте вилку адаптера переменного тока в розетку переменного тока.
-
Совместите зарядный разъем планшетного ПК с разъемом внутри слота кредла.

-
Вставьте планшетный ПК в кредл.
-
Убедитесь, что горит индикатор зарядки.
-
При использовании или отключении адаптера переменного тока не дотрагивайтесь до его контактной области.
-
Приложение силы при отключении кабеля переменного тока от кредла может привести к поломке адаптера или кредла. Поэтому обязательно удерживайте опору кредла при отключении.
-
При использовании опоры кредла в нижнем положении направьте шнур адаптера переменного тока через отверстие в опоре кредла, чтобы предотвратить ее опрокидывание.
-
При установке планшетного ПК в кредл убедитесь, что ремешок, если таковой установлен, не попадает между планшетный ПК и кредлом.
-
При установке работающего планшетного ПК в кредл или включении планшетного ПК, установленного в кредле, будет отображаться приглашение выбрать приложение, которое будет запускаться при следующем использовании кредла. Поставив флажок [Нет] и [По умолчанию для этого действия], можно продолжить работу с используемой программой и отменить отображение окна выбора программы на будущее.
-
Чтобы изменить приложение, которое будет запускаться при установке планшетного ПК на кредл, нажмите [
Приложения и виджеты] - [
Настройки] - [Кредл].
Снятие планшетного ПК с кредла
-
Поднимите планшетный ПК, удерживая его в вертикальном положении.
