Tablet Bilgisayarın Yuvayla Kullanımı
Tablet bilgisayarın yuvaya takılması
-
Yuvanın ayağını yukarı konumuna getirin. Böylece, AC adaptörünü takabilirsiniz.

-
AC adaptörü girişini yuvanın altındaki güç kablosu yuvasına takın.

-
AC adaptörü girişini AC prizine takın.
-
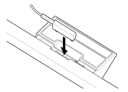
Tablet bilgisayarınızın şarj girişini yuvanın üst tarafındaki boşlukla aynı hizaya getirin.

-
Tablet bilgisayarınızı yuvaya yerleştirin.
-
Şarj göstergesinin yandığından emin olun.
-
AC adaptörünü tutarken veya çıkartırken, uç bölgesine dokunmayın.
-
AC adaptörü kablosunu zorla çekerek yuvadan çıkarmaya çalışırsanız, AC adaptörü veya yuva kırılabilir. Bu nedenle, fişten çekerken yuvanın ayaklarını tuttuğunuzdan emin olun.
-
Yuva ayağını alt konumunda kullanırken, yuvanın devrilmesini önlemek için AC adaptör kablosunu yuva ayağındaki delikten geçirin.
-
Askı kayışı bağlı haldeki tablet bilgisayarınızı yuvaya yerleştirirken, askı kayışının tablet bilgisayarınız ile yuva arasına takılmadığından emin olun.
-
Tablet bilgisayarınızı yuvaya takarken veya tablet bilgisayarınızı yuva içerisindeyken açarken, yuvayı bir sonraki kullanışınızda başlatılmasını istediğiniz uygulamayı seçmenizi isteyen bir mesaj görüntülenir. [Yok] ve [Varsayılan olarak bu işlem için kullan.] seçimini yaparsanız, mevcut uygulamayı kullanmaya devam edersiniz ve gelecekte uygulama seçim ekranı görüntülenmez.
-
Tablet bilgisayarınızı yuvaya oturttuğunuzda başlatılan uygulamayı değiştirmek için, sırasıyla [
Apps & Widgets] - [
Ayarlar] - [Yuva] seçimlerini yapın.
Tablet bilgisayarın yuvadan çıkartılması
-
Tablet bilgisayarınızı düz bir şekilde kaldırarak çıkartın.
