Korzystanie z tabletu i stacji dokującej
Ustawianie tabletu w stacji dokującej
-
Przesuń podstawę stacji dokującej w górne położenie. Pozwala to na podłączenie lub odłączenie zasilacza sieciowego.

-
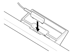
Włóż wtyk zasilacza sieciowego do gniazda przewodu zasilającego na spodzie stacji dokującej.

-
Podłącz zasilacz sieciowy do gniazda elektrycznego.
-
Wyrównaj złącze ładowania w tablecie z wewnętrznym górnym gniazdem stacji dokującej.

-
Umieść tablet w górnym gnieździe stacji dokującej.
-
Upewnij się, że podświetlony jest wskaźnik ładowania.
-
Trzymając lub odłączając zasilacz sieciowy nie należy dotykać miejsca ze stykami.
-
Ciągnięcie kabla zasilacza sieciowego na siłę przy odłączaniu go od stacji dokującej grozi uszkodzeniem zasilacza sieciowego lub stacji dokującej. Należy koniecznie trzymać stację dokującą za jej podstawę.
-
W przypadku korzystania ze stacji dokującej z jej podstawą ustawioną w dolnym położeniu, przewód zasilacza sieciowego należy przeprowadzić przez wycięcie w podstawie stacji dokującej, aby zapobiec jej przewracaniu się.
-
Ustawiając tablet w stacji dokującej z zamocowanym paskiem należy uważać, aby pasek nie dostał się pomiędzy tablet a stację dokującą.
-
Przy włożeniu tabletu w trakcie pracy do stacji dokującej lub przy włączeniu tabletu w stacji dokującej pojawi się monit o wybór aplikacji, która będzie uruchamiana w przypadku kolejnego skorzystania ze stacji dokującej. Zaznaczając opcje [Brak] i [Używaj domyślnie dla tej czynności.], można nadal korzystać z używanej aplikacji, a ekran wyboru aplikacji nie będzie już więcej wyświetlany.
-
Aby zmienić aplikację uruchamianą po ustawieniu tabletu w stacji dokującej, puknij [
Apps & Widgets] - [
Settings] - [Stacja dokująca].
Wyciąganie tabletu ze stacji dokującej
-
Podnieś tablet na wprost do góry.
