높고 고정된 위치에 수직으로 장착
이 항목에서는 제공된 천장 브래킷을 사용하여 높은 곳에 기기를 장착하는 방법에 대해 설명합니다.
- 기기를 높은 위치에 장착하려면 전문 계약자에게 문의하십시오.
- 높은 위치에 장착할 경우 장착면과 장착 재료(액세서리 제외)가 200 kg 이상을 지탱할 수 있는지 확인하고 이 도움말 안내에 설명된 대로 기기를 장착하십시오. 충분히 견고하게 장착하지 않으면 기기가 떨어져 심각한 부상을 입을 수 있습니다.
- 기기에 제공된 낙하 방지 와이어 로프를 부착하여 기기가 떨어지지 않도록 합니다.
- 기기를 높은 위치에 장착하는 경우 장착이 헐거워지지 않았는지 1년에 한 번 확인하십시오. 사용 조건에 따라 점검 주기를 단축하십시오.
설치 참고 사항
- 기기 고장을 방지하기 위해 작업 중 카메라 헤드를 잡지 마십시오.
-
높은 위치 장착 액세서리 및 장착 공간을 확인하십시오.
시작하기 전에 다음 부품이 있는지 확인하십시오.
- 천장 브래킷 (A) (1)
- 천장 브래킷 (B) (1)
- 낙하 방지 와이어 로프 (1)
- +PSW M3×8 나사 (6)
- +PSW M4×8 낙하 방지 와이어 로프용 스테인리스 스틸 나사 (1)
참고 사항
- 낙하 방지 와이어 로프는 기기가 매달렸을 때 기기를 지지하도록 설계되었습니다. 기기의 하중 이외의 하중을 가하지 마십시오.
장착 공간
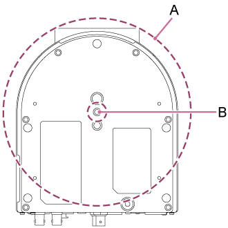
렌즈를 돌리는 데 필요한 공간과 기기 후면의 배선을 고려하여 장착 위치와 방향을 결정할 때 다음 도면을 참조하십시오.
A: 카메라 헤드 이동 범위(ø199 mm)
B: 와이어 로프 장착 구멍(ø20 mm)
참고 사항
- 진동의 영향을 받지 않는 안정적인 위치에 장착하십시오. 진동의 영향을 받는 위치는 이미지에 진동을 일으킬 수 있습니다.
- 기기를 경사면에 장착해야 하는 경우 수평에서 ±15° 이내로 유지하고 기기가 떨어지지 않도록 조치를 취하십시오.
-
제공된 나사(M3×8) 4개를 사용하여 천장 브래킷 (A)를 기기 바닥에 부착합니다.
제공된 나사를 사용하십시오. 제공된 나사 이외의 나사를 사용하면 기기 내부가 손상될 수 있습니다.
-
낙하 방지 와이어 로프를 천장 브래킷 (A)의 와이어 로프 메탈 루프를 통해 연결하고 제공된 나사(M4×8)를 사용하여 기기에 단단히 부착합니다.
A: 제공된 와이어 로프
B: 제공된 나사(M4×8)
C: 와이어 로프 메탈 루프
제공된 나사를 사용하십시오. 제공된 나사 이외의 나사를 사용하면 와이어 로프 기능의 효율성이 떨어질 수 있습니다.
-
선반과 같이 기기가 장착될 표면에 천장 브래킷 (B)를 부착하십시오.
장착 나사는 제공되지 않습니다.
A: 벽
B: 연결 케이블용 구멍
C: 선반 또는 기타 장착 표면
화살표 방향은 카메라의 앞면을 나타냅니다. 카메라 방향이 앞쪽을 향하도록 조정합니다.
-
낙하 방지 와이어 로프를 장착면 근처에 부착하십시오.
M5(3/16인치) 육각 소켓 헤드 캡 나사(옵션)를 사용하여 선반이나 천장 브래킷 (B)가 부착되는 표면 근처의 물체에 부착하십시오.
A: 와이어 로프
B: 육각 소켓 헤드 캡 나사(M5, 3/16인치)
-
천장 브래킷 (A)와 (B)의 가장자리를 맞춥니다.
A: 기기에 부착된 천장 브래킷 (A)
B: 천장 브래킷 (B)
C: 가장자리 정렬
-
천장 브래킷 (B)의 돌출부를 천장 브래킷 (A)의 구멍(4곳)에 삽입합니다.
-
천장 브래킷 (A)의 와이어 로프 돌출부에 낙하 방지 와이어 로프를 걸고 그림과 같은 방향으로 기기를 약 10 mm 밀어 임시로 고정합니다.
A: 낙하 방지 와이어 로프
B: 돌출부 삽입 구멍(4곳)
C: 와이어 로프 돌출부
-
제공된 나사(M3×8) 2개를 사용하여 천장 브래킷 (A)와 천장 브래킷 (B)를 부착합니다.
-
장착 상태를 확인하십시오.
구체적으로 다음 항목을 확인하십시오.
- 장착 나사가 올바르게 부착되어 있습니다.
- 낙하 방지 와이어 로프가 올바르게 부착되어 있고 꼬이지 않았습니다.
- 기기가 수평으로 장착되었습니다(기울임 또는 흔들림 없음).
TP1001869532

