التثبيت العمودي في مكان مرتفع وثابت
يصف هذا الموضوع كيفية تثبيت الوحدة في موقع مرتفع باستخدام ذراع التثبيت بالسقف المتوفر.
- لتثبيت الوحدة بالمكان المرتفع، اسأل مقاولاً محترفًا.
- عند التثبيت في موضع عالٍ، تأكد من أن سطح التثبيت ومواد التثبيت (باستثناء الملحقات) يمكن أن تدعم 200 كجم أو أكثر، وقم بتثبيت الوحدة كما هو موضح في دليل المساعدة هذا. إذا لم يكن التثبيت قويًا بدرجة كافية، فقد تسقط الوحدة وتتسبب في إصابة خطيرة.
- قم بتركيب الحبل السلكي الواقي من السقوط المتوفر بالوحدة لمنع الوحدة من السقوط.
- عندما يتم تثبيت الوحدة بمكان مرتفع، تحقق من عدم تفكك التثبيت مرة في السنة. قم بتقصير الفاصل الزمني للفحص وفقًا لشروط الاستخدام.
ملاحظة التثبيت
- لمنع تعطل الوحدة، لا تمسك رأس الكاميرا أثناء العمل.
-
تحقق من ملحقات التثبيت بمكان مرتفع ومساحة التثبيت.
قبل البدء، تحقق من توافر الأجزاء التالية لديك.
- ذراع التثبيت بالسقف (A) (1)
- ذراع التثبيت بالسقف (B) (1)
- حبل سلكي واقٍ من السقوط (1)
- براغي +PSW M3×8 (6)
- براغي +PSW M4×8 من الإستانلس ستيل للحبل السلكي الواقي من السقوط (1)
ملاحظة
- تم تصميم الحبل السلكي الواقي من السقوط لدعم الوحدة عند التعليق. لا تطبق أي حمولة عليه بخلاف حمولة الوحدة.
مساحة التثبيت
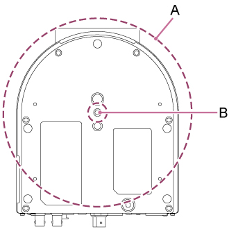
راجع الرسم التالي عند تحديد مكان التثبيت واتجاهه، مع مراعاة المساحة المطلوبة لقلب العدسة والأسلاك الموجودة في الجزء الخلفي من الوحدة.
A: نطاق حركة رأس الكاميرا (ø199 مم)
B: فتحة تغذية الحبل السلكي للتثبيت (ø20 مم)
ملاحظة
- قم بتثبيتها في مكان ثابت غير معرض للاهتزاز. قد تتسبب المواقع المعرضة للاهتزاز في حدوث اهتزاز في الصورة.
- إذا كان يلزمك تثبيت الوحدة بسطح مائل، فاحتفظ بها في نطاق ±15 درجة من المستوى الأفقي واتخذ التدابير اللازمة لمنع الوحدة من السقوط.
-
قم بتركيب ذراع التثبيت بالسقف (A) بالجزء السفلي من الوحدة باستخدام البراغي الأربعة المرفقة (8×M3).
استخدم البراغي المرفقة. قد يؤدي استخدام براغٍ أخرى غير البراغي المرفقة إلى تلف الجزء الداخلي للوحدة.
-
قم بتوجيه الحبل السلكي الواقي من السقوط عبر الحلقة المعدنية للحبل السلكي لذراع التثبيت بالسقف (A) وقم بتركيبه بإحكام في الوحدة باستخدام البرغي المرفق (8×M4).
A: حبل سلكي مرفق
B: برغي مرفق (8×M4)
C: حلقة معدنية للحبل السلكي
استخدم البرغي المرفق. قد يؤدي استخدام برغي آخر غير البرغي المرفق إلى تقليص فعالية وظيفة الحبل السلكي.
-
ركّب ذراع التثبيت بالسقف (B) بالسطح، مثل رف يتم تثبيت الوحدة به.
براغي التثبيت غير متوفرة.
A: حائط
B: فتحة لكبلات التوصيل
C: رف أو أي سطح آخر للتثبيت
يشير اتجاه السهم إلى الوجهة الأمامية من الكاميرا. اضبط اتجاه الكاميرا بحيث تتجه إلى الأمام.
-
قم بتركيب الحبل السلكي الواقي من السقوط بنقطة بالقرب من سطح التثبيت.
استخدم برغيًا لغطاء رأس المقبس سداسي الشكل M5 (3/16 بوصة) (اختياري) وقم بتركيبه بجسم ما بالقرب من الرف أو السطح الذي تم تركيب ذراع التثبيت بالسقف (B) به.
A: حبل سلكي
B: برغي غطاء رأس مقبس سداسي (M5، 3/16 بوصة)
-
قم بمحاذاة حواف ذراعي التثبيت بالسقف (A) و(B).
A: ذراع التثبيت بالسقف (A) مرتبط بالوحدة
B: ذراع التثبيت بالسقف (B)
C: قم بمحاذاة الحواف
-
أدخل نتوءات ذراع التثبيت بالسقف (B) في الفتحات (4 أماكن) بذراع التثبيت بالسقف (A).
-
عقّف الحبل السلكي الواقي من السقوط حول نتوء الحبل السلكي لذراع التثبيت بالسقف (A)، وادفع الوحدة بالاتجاه الموضح في الرسم بمسافة 10 مم تقريبًا لتثبيتها في مكانها مؤقتًا.
A: حبل سلكي واقٍ من السقوط
B: فتحات إدخال النتوءات (4 أماكن)
C: نتوء حبل سلكي
-
قم بتركيب ذراع التثبيت بالسقف (A) وذراع التثبيت بالسقف (B) باستخدام البراغيين المرفقين (8×M3).
-
تحقق من حالة التثبيت.
على وجه التحديد، تحقق من البنود التالية.
- براغي التثبيت تم تركيبها بشكل صحيح.
- الحبل السلكي الواقي من السقوط تم تركيبه بشكل صحيح وغير ملتوٍ.
- الوحدة مثبتة بشكل مستوٍ (من دون إمالة أو اهتزاز).

