在较高的固定位置直立安装
本主题介绍如何使用随附的天花板托架将本机安装到高处。
- 要在较高位置安装本机,请咨询专业承包商。
- 在较高位置安装时,确保安装表面和安装材料(不包括附件)可以支撑200 kg或以上,并按照本帮助指南中所述安装本机。如果安装不够坚固,本机可能会掉落并可能造成严重伤害。
- 将随附的防掉落钢丝绳连接到本机,防止本机掉落。
- 如果本机安装在较高位置,请一年检查一次安装是否变得松动。根据使用条件缩短检查间隔。
安装注意事项
- 为防止本机发生故障,请勿在使用期间按住摄像头。
-
检查较高位置安装附件和安装空间。
开始安装前,检查是否有下列部件。
- 天花板托架(A) (1)
- 天花板托架(B) (1)
- 防掉落钢丝绳(1)
- +PSW M3×8螺丝(6)
- +PSW M4×8不锈钢螺丝,用于防掉落钢丝绳(1)
注意
- 防掉落钢丝绳旨在支撑悬挂的本机。请勿在本机上施加超出本机负荷的重量。
安装空间
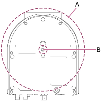
确定安装位置和方向时,请参阅下图,并需要考虑转动镜头和本机后部布线所需的空间。
A:摄像头移动范围(ø199 mm)
B:安装钢丝绳馈送孔(ø20 mm)
注意
- 请在不易震动的稳定位置安装本机。在容易震动的位置安装可能导致图像震动。
- 如果必须在倾斜表面上安装本机,请保持水平方向±15°的范围并采取必要措施以免本机掉落。
-
使用随附的四颗螺丝(M3×8),将天花板托架(A)安装到本机底部。
使用随附的螺丝。使用除随附螺丝以外的螺丝可能损坏本机内部。
-
将防掉落钢丝绳穿过天花板托架(A)的钢丝绳金属环,然后使用随附的螺丝(M4×8)将钢丝绳牢固连接到本机。
A:随附的钢丝绳
B:随附的螺丝(M4×8)
C:钢丝绳金属环
使用随附的螺丝。使用除随附螺丝以外的螺丝可能降低钢丝绳功能的有效性。
-
将天花板托架(B)安装到将要安装本机的表面(如搁架)。
不提供安装螺丝。
A:墙壁
B:用于连接电缆的孔
C:搁架或其他安装表面
箭头方向指示摄像机的正面。调整摄像机方向,使其面向前方。
-
将防掉落钢丝绳连接到安装表面附近的点。
使用M5(3/16英寸(4.7 mm))内六角螺丝(选件),并将其安装到安装了天花板托架(B)的搁架或表面附近的对象上。
A:钢丝绳
B:内六角螺丝(M5,3/16英寸(4.7 mm))
-
将天花板托架(A)和(B)的边缘对齐。
A:安装到本机上的天花板托架(A)
B:天花板托架(B)
C:对齐边缘
-
将天花板托架(B)的突出部分插入天花板托架(A)的孔(4处)中。
-
将防掉落钢丝绳钩在天花板托架(A)的钢丝绳突出部分上,并将本机沿图示箭头方向推动约10 mm,将其暂时固定到位。
A:防掉落钢丝绳
B:突出部分插入孔(4处)
C:钢丝绳突出部分
-
使用随附的两颗螺丝(M3×8)来安装天花板托架(A)和天花板托架(B)。
-
检查安装状态。
具体而言,检查下列项目。
- 正确安装安装螺丝。
- 正确连接防掉落钢丝绳,不要扭曲。
- 本机符合安装等级(无俯仰或摆动)。
TP1001868681

