Montage à la verticale dans un emplacement élevé et fixe
Cette rubrique décrit comment monter l’appareil en hauteur à l’aide du support de plafond fourni.
- Pour monter l’appareil dans un emplacement élevé, contactez un professionnel.
- Lors du montage dans un emplacement élevé, assurez-vous que la surface de montage et le matériel de montage (sans les accessoires) peuvent supporter un poids de 200 kg (440 lb 15 oz ) ou plus, puis montez l’appareil comme décrit dans ce manuel d’aide. Si le montage n’est pas suffisamment solide, l’appareil risque de tomber et de provoquer des blessures graves.
- Fixez le câble métallique antichute fourni à l’appareil pour empêcher l’appareil de tomber.
- Lorsque l’appareil est monté dans un emplacement élevé, vérifiez au moins une fois par an que le montage reste bien en place. Réduisez l’intervalle entre les contrôles selon les conditions d’utilisation.
Remarque sur l’installation
- Pour éviter une défaillance de l’objectif, ne tenez pas la tête de caméra pendant l’opération.
-
Vérifiez les accessoires de montage en hauteur et l’espace de montage.
Avant de commencer, vérifiez que vous disposez des pièces suivantes.
- Support de plafond (A) (1)
- Support de plafond (B) (1)
- Câble métallique antichute (1)
- Vis +PSW M3×8 (6)
- Vis en acier inoxydable pour câble métallique antichute +PSW M4×8 (1)
Note
- Le câble métallique antichute est conçu pour supporter l’appareil lorsqu’il est suspendu. N’appliquez aucune charge autre que la charge de l’appareil à celui-ci.
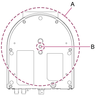
Espace de montage
Référez-vous au dessin suivant lorsque vous déterminez l’emplacement de montage et la direction, en prenant en considération l’espace requis pour tourner l’objectif et le câble à l’arrière de l’appareil.
A : plage de mouvement de la tête de caméra (ø199 mm)
B : orifice de passage du câble métallique de montage (ø20 mm)
Note
- Montez-le dans un emplacement stable qui n’est pas sujet aux vibrations. Les emplacements sujets aux vibrations peuvent provoquer des vibrations dans l’image.
- Si l’appareil doit être monté sur une surface inclinée, gardez-le à ±15° de l’horizontale et prenez les mesures nécessaires pour empêcher l’appareil de tomber.
-
Fixez le support de plafond (A) au bas de l’appareil à l’aide des quatre vis fournies (M3×8).
Utilisez les vis fournies. L’utilisation de vis autres que celles fournies peut endommager le produit ou l’intérieur de l’appareil.
-
Acheminez le câble métallique antichute à travers la boucle métallique de câble métallique du support de plafond (A) et attachez-le bien à l’appareil à l’aide de la vis fournie (M4×8).
A : câble métallique fourni
B : vis fournie (M4×8)
C : boucle métallique de câble métallique
Utilisez la vis fournie. L’utilisation d’une vis autre que celle fournie peut réduire l’efficacité de la fonction du câble métallique.
-
Fixez le support de plafond (B) sur la surface, comme une étagère, où l’appareil sera monté.
Les vis de montage ne sont pas fournies.
A : mur
B : orifice pour les câbles de connexion
C : étagère ou autre surface de montage
La direction de la flèche indique l’avant de la caméra. Réglez l’orientation de la caméra de manière à ce qu’elle soit tournée vers l’avant.
-
Fixez le câble métallique antichute à un point à proximité de la surface de montage.
Utilisez une vis à tête à six pans creux M5 (3/16 po) (en option) et fixez-la à un objet à proximité de l’étagère ou de la surface à laquelle est fixé le support de plafond (B).
A : câble métallique
B : vis à tête à six pans creux (M5, 3/16 po)
-
Alignez les bords des supports de plafond (A) et (B).
A : support de plafond (A) fixé à l’appareil
B : support de plafond (B)
C : alignez les bords
-
Insérez les saillies du support de plafond (B) dans les orifices (4 emplacements) du support de plafond (A).
-
Accrochez le câble métallique antichute autour de la saillie du câble métallique du support de plafond (A), poussez l’appareil dans le sens indiqué sur l’illustration d’environ 10 mm pour le sécuriser en place temporairement.
A : câble métallique antichute
B : orifices d’insertion de saillie (4 emplacements)
C : saillie de câble métallique
-
Fixez le support de plafond (A) et le support de plafond (B) à l’aide des deux vis fournies (M3×8).
-
Vérifiez l’état de montage.
En particulier, vérifiez les éléments suivants.
- Les vis de montage sont correctement fixées.
- Le câble métallique antichute est correctement fixé et n’est pas tordu.
- L’appareil est monté sur surface plane (sans inclinaison ou oscillation).

