Aufrechte Montage an einer hoch gelegenen, festen Stelle
In diesem Thema wird beschrieben, wie Sie das Gerät mithilfe der mitgelieferten Deckenhalterung an einer hoch gelegenen Stelle montieren.
- Wenden Sie sich an ein professionelles Bauunternehmen, um das Gerät an einer hoch gelegenen Stelle zu montieren.
- Stellen Sie bei der Montage an einer hoch gelegenen Stelle sicher, dass die Montageoberfläche und das Montagematerial (ausgenommen Zubehör) mindestens 200 kg tragen können und montieren Sie das Gerät wie in dieser Hilfe beschrieben. Falls die Montage nicht ausreichend fest erfolgt, kann das Gerät herunterfallen und schwere Verletzungen verursachen.
- Bringen Sie das mitgelieferte Drahtseil zum Fallschutz am Gerät an, um es gegen Fallen zu sichern.
- Wenn das Gerät an einer hoch gelegenen Stelle montiert ist, prüfen Sie jährlich, ob es noch fest sitzt. Verkürzen Sie die Prüfabstände je nach Verwendungsbedingungen.
Installationshinweis
- Um ein Versagen des Geräts zu verhindern, halten Sie bei der Arbeit den Kamerakopf nicht fest, wenn sich dieser bewegt.
-
Prüfen Sie das Zubehör für die Montage an einer hoch gelegenen Stelle und die Montagestelle.
Prüfen Sie vor Beginn der Arbeiten, ob Ihnen die folgenden Teile vorliegen.
- Deckenhalterung (A) (1)
- Deckenhalterung (B) (1)
- Drahtseil zum Fallschutz (1)
- Schrauben +PSW M3×8 (6)
- Edelstahlschraube +PSW M4×8 für Drahtseil zum Fallschutz (1)
Hinweis
- Das Drahtseil zum Fallschutz ist zum Tragen des Geräts vorgesehen, wenn es hängt. Belasten Sie es ausschließlich mit dem Gewicht des Geräts.
Montagestelle
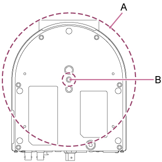
Ziehen Sie zum Bestimmen der Montagestelle und -richtung die folgende Zeichnung hinzu. Beachten Sie den für die Drehung des Objektivs und für die Verkabelung an der Rückseite des Geräts erforderlichen Freiraum.
A: Bewegungsbereich des Kamerakopfs (ø199 mm)
B: Durchgangsloch für Drahtseil (ø20 mm)
Hinweis
- Montieren Sie das Gerät an einer stabilen Stelle, die keinen Vibrationen ausgesetzt ist. Eine Montage an Stellen, die Vibrationen ausgesetzt sind, kann zu Bildvibrationen führen.
- Falls das Gerät auf einer geneigten Oberfläche montiert werden muss, halten Sie es im Bereich von ±15° um die Horizontale, um ein Herunterfallen zu verhindern.
-
Bringen Sie mithilfe der vier mitgelieferten Schrauben (M3×8) die Deckenhalterung (A) an der Unterseite des Geräts an.
Verwenden Sie die mitgelieferten Schrauben. Wenn Sie andere als die mitgelieferten Schrauben verwenden, kann dadurch das Innere des Geräts beschädigt werden.
-
Führen Sie das Drahtseil zum Fallschutz durch die Blechöse an der Deckenhalterung (A) und sichern Sie es mithilfe der mitgelieferten Schraube (M4×8) am Gerät.
A: mitgeliefertes Drahtseil
B: mitgelieferte Schraube (M4×8)
C: Blechöse
Verwenden Sie die mitgelieferten Schraube. Wenn Sie eine andere als die mitgelieferten Schraube verwenden, kann dadurch die Wirksamkeit der Drahtseilsicherung beeinträchtigt werden.
-
Bringen Sie die Deckenhalterung (B) auf der Oberfläche an, auf der das Gerät montiert werden soll; beispielsweise ein Regal.
Montageschrauben werden nicht mitgeliefert.
A: Wand
B: Loch für Verbindungskabel
C: Regal oder andere Montageoberfläche
Die Pfeilrichtung zeigt die Vorderseite der Kamera an. Passen Sie die Ausrichtung der Kamera so an, dass sie nach vorn weist.
-
Bringen Sie das Drahtseil zum Fallschutz an einer Stelle nahe der Montageoberfläche an.
Bringen Sie es mithilfe einer Innensechskantschraube M5 (3/16 Zoll; optional) an einem Objekt nahe des Regals bzw. der Oberfläche an, auf dem bzw. der die Deckenhalterung (B) angebracht ist.
A: Drahtseil
B: Innensechskantschraube (M5, 3/16 Zoll)
-
Richten Sie die Kanten der Deckenhalterungen (A) und (B) aufeinander aus.
A: Deckenhalterung (A) am Gerät angebracht
B: Deckenhalterung (B)
C: Kanten aneinander ausrichten
-
Setzen Sie die Vorsprünge von Deckenhalterung (B) in die Öffnungen (4 Stellen) von Deckenhalterung (A) ein.
-
Führen Sie das Drahtseil zum Fallschutz um den Vorsprung von Deckenhalterung (A) für das Drahtseil. Schieben Sie das Gerät ca. 10 mm in die in der Abbildung gezeigte Richtung, um es vorübergehend zu sichern.
A: Drahtseil zum Fallschutz
B: Öffnungen für Vorsprünge (4 Stellen)
C: Vorsprung für Drahtseil
-
Bringen Sie die Deckenhalterungen (A) und (B) mithilfe der beiden mitgelieferten Schrauben an (M3×8).
-
Prüfen Sie den Montagezustand.
Achten Sie insbesondere auf Folgendes:
- Montageschrauben korrekt angebracht
- Drahtseil zum Fallschutz korrekt angebracht und nicht verdreht
- Gerät ist eben montiert (ohne Neigung oder Buckel)

