Montaggio verticale in una posizione fissa elevata
Questo argomento descrive come montare l’unità in una posizione elevata utilizzando la staffa per montaggio a soffitto in dotazione.
- Per il montaggio dell’unità in una posizione elevata, rivolgersi a personale specializzato.
- Per il montaggio in una posizione elevata, assicurarsi che la superficie a cui si desidera fissare l’unità e i relativi materiali (esclusi gli accessori) siano in grado di sostenere un peso di almeno 200 kg, quindi montare l’unità come descritto in questa guida. Se il montaggio non è sufficientemente robusto, l’unità potrebbe cadere e causare danni o gravi infortuni alle persone.
- Fissare all’unità il cavetto anticaduta fornito per impedirne la caduta.
- Quando l’unità è montata in una posizione elevata, controllare almeno una volta all’anno che il montaggio non si sia allentato. Controllare più frequentemente se richiesto dalle condizioni di utilizzo.
Note di installazione
- Per evitare danni all’unità, non afferrare la testa della telecamera durante il lavoro.
-
Controllare gli accessori per il montaggio in posizione elevata e lo spazio a disposizione.
Prima di iniziare, controllare di avere a disposizione quanto segue.
- Staffa per montaggio a soffitto (A) (1)
- Staffa per montaggio a soffitto (B) (1)
- Cavetto anticaduta (1)
- Viti +PSW M3×8 (6)
- Vite +PSW M4×8 in acciaio inox per il cavetto anticaduta (1)
Nota
- Il cavetto anticaduta è progettato per essere in grado di sostenere l’unità se sospesa ad esso. Non applicare ad esso carichi diversi da quello esercitato dall’unità.
Spazio di montaggio
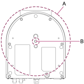
Fare riferimento al seguente disegno per determinare la posizione e la direzione di montaggio, assicurando la presenza di uno spazio sufficiente per la rotazione dell’obiettivo e il cablaggio sul retro dell’unità.
A: Raggio di movimento della testa della telecamera (ø199 mm)
B: Foro di passaggio del cavetto anticaduta (ø20 mm)
Nota
- Montare in una posizione non soggetta a vibrazioni. La presenza di vibrazioni potrà dar luogo a immagini mosse.
- Se l’unità deve essere installata su una superficie inclinata, assicurarsi che l’inclinazione di tale superficie non ecceda i ±15° dall’orizzontale e adottare opportune misure evitare la caduta dell’unità.
-
Assicurare la staffa per montaggio a soffitto (A) al lato inferiore dell’unità utilizzando le quattro viti in dotazione (M3×8).
Utilizzare le viti in dotazione. L’uso di viti diverse potrebbe danneggiare i componenti interni dell’unità.
-
Far passare il cavetto anticaduta nell’apposita asola in metallo della staffa per montaggio a soffitto (A) e assicurarlo saldamente all’unità utilizzando la vite in dotazione (M4×8).
A: Cavetto anticaduta fornito
B: Vite in dotazione (M4×8)
C: Asola per il cavetto anticaduta
Utilizzare la vite in dotazione. L’uso di una vite diversa da quella fornita potrebbe compromettere l’efficacia del cavetto anticaduta.
-
Fissare la staffa per montaggio a soffitto (B) alla superficie, ad esempio una mensola, dove verrà montata l’unità.
Le viti di montaggio non sono fornite.
A: Parete
B: Foro per cavi di collegamento
C: Ripiano o altra superficie di montaggio
La direzione della freccia indica la parte anteriore della telecamera. Orientare la telecamera in modo che sia rivolta in avanti.
-
Fissare il cavetto anticaduta in prossimità della superficie di montaggio.
Utilizzando una vite M5 (3/16 di pollice) a testa cava esagonale (opzione), assicurare il cavetto a un punto in prossimità del ripiano o della superficie a cui è fissata la staffa per montaggio a soffitto (B).
A: Cavetto anticaduta
B: Vite a testa cava esagonale (M5, 3/16 di pollice)
-
Allineare i bordi delle staffe di montaggio a soffitto (A) e (B).
A: Staffa per montaggio a soffitto (A) fissata all’unità
B: Staffa per montaggio a soffitto (B)
C: Allineare i bordi
-
Inserire le sporgenze della staffa per montaggio a soffitto (B) nei fori (4 posizioni) della staffa per montaggio a soffitto (A).
-
Agganciare il cavetto anticaduta sull’apposita linguetta della staffa per montaggio a soffitto (A), spingere l’unità nella direzione indicata in figura di 10 mm circa per fissarla temporaneamente in posizione.
A: Cavetto anticaduta
B: Aperture di inserimento dei ganci (4)
C: Linguetta di fissaggio del cavetto anticaduta
-
Assicurare insieme la staffa per montaggio a soffitto (A) e la staffa per montaggio a soffitto (B) utilizzando le due viti fornite (M3×8).
-
Controllare il montaggio.
Specificatamente, controllare quanto segue:
- Le viti di montaggio sono fissate correttamente.
- Il cavetto anticaduta è fissato correttamente e non è attorcigliato.
- L’unità è montata orizzontalmente (senza inclinazione o oscillazioni).

